模具-注塑-对讲机外壳注射模设计
来源:56doc.com 资料编号:5D2429 资料等级:★★★★★ %E8%B5%84%E6%96%99%E7%BC%96%E5%8F%B7%EF%BC%9A5D2429
资料介绍
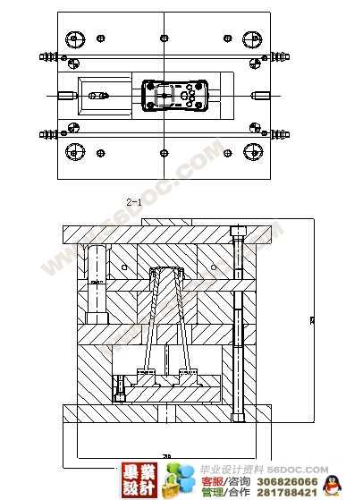
| 摘要:本文详细介绍了interphone注射模具的设计。基于PRO/E建模,在完成塑件结构分析后,确定采用一模一腔、点浇口进料的三板式模具。根据基体尺寸,模架从标准模架库中调用。针对塑件两侧有侧凹,特优化设计了斜顶机构,并对该机构的加工工艺、使用效果进行了阐述。同时,本文对浇注系统、成型零件、脱模机构、斜顶杆侧抽芯机构、合模导向机构、温度调节系统、排气系统和部分零件的加工工艺也做了完整的设计计算。(所有权: 毕业设计网 ) 关键词:注射模;侧浇口;斜顶杆机构 The design of the INTERPHONE injection mould Majority: Machine design & manufacturing Automation Author: Jon lee Instructor: Shukun Qian Abstractt :This text has introduced the design of the interphone injection mould in detail. Because of PRO/E modeling , after analyzing the structure of the interphone, confirms using a cavity ,point gate and three plate a mould. according to the matrices size, the mould shelf was choosed from the 3D mold base standard library. There were concaves in both sides of moulding , so optimizing design the angle ejector maching ,and furthermore the producing technics,the appliation affects are discessed in detail. At the same time,in this text the feedsysterm, shaping part, drawing of patterns organization , Organization of ejection force.,shut mould lead organization , temperature control system , exhaust system and the technology analyse of some workparts were designed and calculated totally. Key words: injection mould;point gate ;angle ejector machine 1、本课题的研究内容及基本要求 (1)独立拟定斜齿轮塑件的成型工艺,正确选用成型设备。 (2)合理地选择模具结构。根据塑件图及技术要求,提出模具结构方案,并使其结构合理,质量可靠,操作方便。必要时可根据模具设计和加工的要求,提出修改塑件图纸的要求。 (3)正确的确定模具成型零件的形状和尺寸。 (4)所设计的模具应当制造方便、造价便宜。 (5)充分考虑塑件设计特色,尽量减少后加工。 (6)设计的模具应当效率高,安全可靠,如要求浇注系统充型快,冷却系统效果好,脱模机构灵活可靠,自动化程度高。 (7)要求模具零件耐磨、耐用、使用寿命长。 2、本课题的研究目的及意义 (1)熟悉拟定塑料成型工艺和模具设计原则、步骤和方法。 (2)学会查阅有关技术文献、手册和资料。 (3)培养分析问题和解决问题的能力。 设计小结 通过本课题的设计,使我对模具设计工作有了更深层次的认识,即:模具不是只为设计而设计,要统筹规划,全盘考虑。这次设计使我能够理论联系实际,多方面、多角度地去感知、体会书本上比较抽象的理论知识。在指导老师及关心与帮助下,我的做事效率得到了一定的提高,独立思考并解决问题的能力得到了加强,培养了实际动手能力。(所有权: 毕业设计网 ) 收获大概可概括为以下几点: 1. 培养了分析问题和解决问题的能力 从设计的开始,就有意识地培养自己独立思考问题、发现问题并解决问题的能力。大到模具的整体布局,小到排气槽的设置、冷料穴的长短,都要经过认真思考,才能拿出相对比较成熟的方案。 2. 锻炼了实际动手能力 在整个的设计过程中,翻阅了大量的文献资料,参考了大量的书籍,除了获得设计所需的数据外,还学到了其他许多的知识。更重要的是锻炼了自己的动手能力和借助工具书解决实际问题的能力。授人以鱼,不如授人以渔,我相信这些能力在我今后的工作和生活能定能让我受益匪浅。 3. 绘图水平得到了提高 通过做设计这一期间的实际操作及练习,学到了很多具体的绘图细节。譬如:虚线、点画线的画法及线条的粗细;剖线、剖面线的画法及线条粗细;标题栏的画法及明细表的编排、技术要求等。此外,绘图的速度也得到了进一步的提高,各种快捷键的操作也越来越熟练。 ![]() ![]() ![]() ![]() ![]() 目 录 前言 3 1 塑件材料分析 4 1.1 基本特性 4 1.2 成型特点 4 1.3 主要技术指标 4 1.4 ABS的注射工艺参数 4 2 型腔数目的决定及排布 7 3 分型面的选择 9 3.1 分型面的设计原则 9 4 浇注系统的设计 10 4.1 主浇道设计 10 4.2分流道设计 12 4.2.1 设计原则.12 4.3冷料穴的设计 13 4.4浇口的设计 13 4.4.1 位置选择原则13 4.4.2 浇口剪切速率的校核14 5 注射机的型号和规格的确定 14 6 成型零部件的工作尺寸计算 15 6.1 凸模径向尺寸计算 15 6.2 凸模高度尺寸计算 16 6.3 凹模径向尺寸的计算 17 6.4 凹模型腔深度尺寸的计算 18 6.5 定模型芯加工工艺卡 19 7 模架的确定和标准件的选用 21 7.1 定模座板 21 7.2 定模固定板 21 7.3 动模固定板 21 7.4 动模垫板 22 7.5 垫块 22 7.6 动模座板 22 8 导柱导向机构的设计 23 8.1 导柱导向机构的作用 23 (所有权: 毕业设计网 ) 8.2 导柱导套的选择 23 9 排气槽的设计 24 10 推出机构的设计 25 10.1 选用原则 25 10.2 推出机构的分类 25 10.3 推出机构的组成 25 10.4 脱模力的计算 25 10.5 抽芯机构设计 26 11 温控系统设计 29 11.1 模温对塑件质量的影响 29 11.2 模温对生产效率的影响 29 11.3 加热系统 30 11.4 冷却系统 30 11.4.1 冷却介质......................................................................30 11.4.2 冷却装置的理论计算............................................................30 11.4.3 冷却装置的结构形式............................................................31 12 模具零部件材料选择 33 12.1 塑料模选用钢材的原则 33 12.2 模具的选材及热处理要求 33 12 模具工作过程 34 13 注射模与注射机的关系 35 13.1 注射压力的校核 35 13.2 锁模力的校核 36 13.3 开模行程与推出机构的校核 36 13.4 安装部分相关尺寸校核 36 14 设计小结 38 致谢 39 参考文献 40 参考文献 1 黄虹主编 塑性成型加工与模具。 北京:化学工业出版社 2002 65---267 2 陈锡栋等主编 实用模具技术手册。北京:机械工业出版社 2001 292--450 3 张有树等主主编 图学基础教程 北京:高等教育出版社 2001 95---296 4 廖念钊等主编 互换性与技术测量 北京:中国计量出版社 2001 1---101 5 章飞主编 型腔模具设计与制造 北京:化学工业出版社,2003 60---195 6 陈万林等主编 实用塑料注射模设计与制造 北京:机械工业出版社 2000,123---398 7 王爱珍主编 工程材料及成形技术 北京:机械工业出版社 2003 44---78 8 纪名刚主编 机械设计 北京:高等教育出版社,2001 22---60 9 陈文琳等主编 塑性成型工艺与模具设计 北京:机械工业出版社 2001,65---186 10 申开智 叶淑静主编 塑料成型模具 北京:轻工业出版社 1982 100---365 11 王兴天主编 注塑成型技术 北京:机械工业出版社 1992 29---107 12 奚永生主编 精密注塑模具设计 北京:中国轻工业出版社 1997 ,63---265 13陈嘉真主编 塑料成型工艺及模具设计 北京:机械工业出版社 1995,53---136 14 黄锐主编 塑料成型工艺学 北京:轻工业出版社 1997 100---156。 15李德群主编 塑料成型工艺及模具设计 北京:机械工业出版社 1994,68---157 |




